Cara Pemasangan Bondek Pada Struktur Beton dan Baja

cara pemasangan bondek

Bagaimana Cara Pemasangan Bondek? tapi sebelum itu kita bahas dulu ini…

cara pemasangan bondek
Salah satu produk Pelat Deck

Bondek sepertinya sudah menjadi kata baku untuk penyebutan pelat lantai deck. Sama seperti pada air mineral kemasan, apapun merknya, orang-orang lebih familiar dengan sebutan air aqua.

Atau seperti di Sumatera sana, meskipun motornya produksi Yamaha, Suzuki, atau Kawasaki, tetap saja disebut honda. ^_^

Tapi kita sepakat sajalah ya, biar lebih mudah dipahami. Pelat lantai deck kita sebut saja pelat bondek. Setuju?

Apa keuntungannya menggunakan pelat bondek?

Untuk proyek skala besar dengan luasan lantai yang besar dan tipikal, penggunaan pelat bondek jelas lebih menguntungkan dibanding menggunakan pelat lantai konvensional. Karena lebih menghemat waktu, tenaga, dan biaya.

Bondek merupakan bekisting tetap sekaligus sebagai tulangan bawah (tulangan lapangan) pada struktur lantai. Sedangkan tulangan tumpuan dan tulangan susut sebaiknya menggunakan wiremesh (lebih praktis sekaligus).

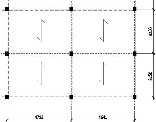
Bagaimana cara pemasangan bondek yang benar?

Hal yang paling mendasar dari cara pemasangan bondek adalah bondek lebih efektif dipasang pada arah pendek bentang balok.

Seperti pada gambar layout lantai berikut:

cara pemasangan bondek

Oleh karena itu bondek disebut juga pelat satu arah.

Cara pemasangan bondek pada struktur beton dan struktur baja tidaklah jauh berbeda.

Berikut adalah urutan-urutannya:

  1. Pasang penyangga sementara jika dibutuhkan. Dibutuhkan atau tidak penyangga, setiap produk bondek ada standarnya.
  2. Letakkan bondek diatas penyangga sementara dan diatas balok. Bondek menumpu minimal 2.5 cm di tepi balok.
  3. Pasang end stop untuk bagian tepi bondek untuk melindungi beton dari tumpah.
  4. Perkaku antar bondek yang sejajar dengan penjepit khusus bondek.
  5. Gelar wiremesh / tulangan atas
  6. Pelat bondek siap dicor.

Bagaimana menghitung kekuatan pelat bondek?

Cara paling mudah adalah dengan melihat brosur yang dikeluarkan oleh produsennya.

Karena bondek adalah produk pabrik, maka ia sudah ada standar tersendiri untuk kekuatannya. Misalnya seperti pada tabel salah satu produk pelat deck berikut merupakan jarak maksimum pemasangan formwork atau perancah pada bondek.

cara pemasangan bondek

Untuk bentang antar bondek, sebaiknya diambil maksimal 3 meter atau dengan melakukan perhitungan lendutan terlebih dahulu.

Tulangan pelat lapangan sudah kita peroleh yaitu bondek. Untuk tulangan tumpuan, cara  menghitungnya sama seperti menghitung tulangan pelat konvensional.

Itulah sekilas tulisan tentang cara pemasangan bondek. Semoga bermanfaat untuk kita semua.

Jika ada saran silakan tulis di kolom komentar. Terimakasih.

114 thoughts on “Cara Pemasangan Bondek Pada Struktur Beton dan Baja”

  1. halo, saya ingin bertanya tentang pemilihan baja deck BMT 0.7, kenapa anda tidka memilih yang 0.65 dan 1 ?
    mohon pencerahannya.

    thanks

      1. kalo struktur beton konvensional kan setiap area 12 m2 harus ada pembalokan untuk menyangga pelat lantai. apakah pada plat bondek ini ada batasan luasan seperti pelat lantai konvensional? kalau ada tiap berpa m2 ya?

          1. kalau buat jalan tol layang gitu gimana ? kan kalau buat di infrastruktur bondek ini cuma sebagai bekistingan saja. jadi gimana cara menentukan tebal pemakaian bondek nya ?? terimakasih

          2. untuk bangunan pabrik di lantai dua, jarak bentang yang ada adalah 6-meter, pilihannya apakah bentang harus dibagi tiga menjadi @ 2meter, atau bisa juga dibagi dua @ 3meter…? pertimbangan hemat maksudnya…

    1. Brp jarak maksimal balok untuk pemasangan bondek. Saya mau cor dak ukuran 4 x12 jarak tiang 4 mtr jadi jarak balok penyangga 4×4 apakah kuat

        1. 3meter searah plat bondek nah untuk yg tidak searah bondek tiap jarak berapa harus dikasih balok lagi? Apaaman apabila ukuran bentangan 3×12 arah bondek ke arah 3m dan sepanjang 12 ? Tidak fikasih balok bagi lagi?

  2. saya mau bwt dak u/ tmpt jemuran uk 5x4m dgn 4 tiang beton tanpa ceker ayam ditiap sdt tembok.Apakah kuat hanya dikasih palang tengah beton/besi diatasnya tanpa dikasih tiang beton lg pd 2 ujung palang beton/besi tsb cuma numpang diatas tembok. Terima kasih ats jwbnya

  3. Mohan saran untuk pemasangan bondek pada rentang 4x4m.Bondek bisa untuk beton tidak dgn balok beton 40x25cm, mampu/kuat tidak untuk dak masjid?

    1. Setiap produk bondek ada spesifikasinya. Ada maksimal bentangnya. Setahu saya 4 meter untuk bondek merk union tidak bisa, sebaiknya tambah penyangga di tengah.

      1. Maaf jika sudah terlanjur di cor balok nya dengan jarak 4×4 meter Dan di atas nya di pasang bondek apakah bisa di buat susulan balok anak ya? Atau ada saran harus bagaimana , karena jarak maksimal antar balok kan 3 meter, terimakasih

  4. Ukuran luas yg mau didak 5 x 11 M.
    – berapa jarak ideal tiap balok
    – bondek yg ideal ukuran brp ?

  5. Saya masih bingung bagaimana cara memasang plat bondek, apakah sehabis pengecoran balok beton lalu bondek di letakan diatas balok beton yg telah di cor? Trimakasih

    1. Dear Adhyt. Kalau melihat dari pertanyaan Anda, berarti yang Anda maksud untuk struktur beton. Ada beberapa cara memasang bondek, diantaranya: (1) Pelat bondek di cor bersamaan dg balok struktur. (2) Balok di cor sampai batas ketebalan pelat, dan setelah mengeras/bisa menjadi tumpuan, baru kemudian pelat bondek dipasang dan dicor.

      1. Betul pak,
        1.Pelat bondek dicor bersamaan dg balok struktur
        2. Balok dicor sampai batas ketebalan pelat,dan setelah mengeras bisa menjadi tumpuan, baru kemudian pelat bondek dipasang dan dicor. Pada point ini perlu penambahan shear connector.

        Disarankan menggunakan cara nomor 1, agar hemat biaya, dan mudah pemasangannya.

        Salam

        1. Inspiratif.. terima kasih sebelumnya ada beberapa hal yang butuh penjelsan dari para suhu :
          1. Klau posisi rumah renovasi (1 lantai jadi 2 lantai), …. apakah bisa pelaksanaan coran kolom, balok dan pelat lantai (menggunakan bondex) secara bersamaan ? Kalau saran diatas balok dan pelat bisa bersamaan, disini ditambah kolom agar pemesanan beton & tenaga bisa sekalian.

          2. Penjelasan istilah SINGLE, DOUBLE & CONTINOUS apa maksudnya dari tabel perhitungan kekuatan pelat bondex?

    1. Dear Mamet. 1 lapis cukup. Wiremesh berfungsi sebagai tulangan atas dan tulangan susut. Sedangkan tulangan bawah adalah bondek (material pelat deck-nya).

  6. Gan mau tanya sy mau ngecor luas rumah sy10X10 sudah ngecor sampai ring rencana sy di atas ring mau di kasih besi upn untuk menyanggah bondek jarak nya 80cm dari besi unp baru di pasang bondek kira2 luar tidak

    1. Berbeda merk bondek, berbeda ketentuannya. Ada yg 3 m tanpa support sementara, dan ada yang pakai. Untuk keamanan, 1 support di tengah saat pengecoran sudah cukup untuk bentang 3 meter.

  7. Salam master…
    Saya brencana ngedak rumah ukuran luas 6×6 = 36m2 dgn bentang balok beton 3x3m. Jika saat pengecoran bersamaan bondek dan balok beton, apakah ukuran pnjng bondek yg 6m harus dipotong jadi 3m ? Jika tidak bgmna dgn balok beton yg berada di tengah ?

    1. Dear Ceprudin, Bisa dipotong atau bisa tidak. Hitungnya jadi berbeda. Jika dipotong akan menjadi deck single, jika tidak dipotong akan menjadi deck double. Kalau menurut saya, sebaiknya dipotong saja agar memudahkan memasang shear connector (penghubung geser) antara balok dan pelatnya.

  8. maaf, mohon pancerahanya master.. sy may ngedak ukuran 6x10mtr, until idealnya mnggunkn del dngn ktbalan berapa? terus jarak antar penyangga Yang aman berapa? trimakasih
    .

  9. Saya rencana mau dak 7×9,,tapi bersamaan dgn balok beton,,apkah penghubung antara bondek sama balok beton ckup dipaku beton aja atau diikat pkai kawat..

  10. Iin pencerahan sya bangunan saya 5×5 utk bentang balok ada 3 tp yg balok tengah jaraknya 3,7 trus sisa ada balok lagi apa bisa gan?

    1. Iin pencerahan bangunan saya 5×5 utk bentang balok ada 3 tp yg balok tengah jaraknya 3,7 trus sisanya dri 3,7 ada balok lagi jarak 1,3 apa bisa gan? tebal bondox 0,7

      1. Dear Daru, untuk jarak bondek tergantung dari produknya. Lihat katalog/spesifikasi produk. Kalau seperti contoh yang ada di blog, panjang bentang bondek tidak sampai 3.7m.

  11. Mohon masukannya, saya mau buat basement di bawah garasi uk 2.7 x 5.4m, pertanyaan:
    1. Apakah cukup atap basement (lantai garasi baru) pakai bondex? Yg aman bgmn ya?
    2. Apakah aman menggali utk basement kebawah (galian ngolong) sementara lantai diatasnya dibiarkan utuh? Lalu atap basement lsg ditempel bondex, apakah aman atau bisa ambruk?
    Terimakasih

  12. Dear Pak Nobel, mohon tanya kl dalam formwork Design itu disebutkan spek untuk SIngle – Continuous – Double itu artinya seperti apa? apakah single itu artinya 1 lapis dan double 2 lapis? Lalu yg continuous seperti apa ya? mohon pencerahannya. Makasih

    1. Dear Pak Gunawan, Single artinya bondek terletak antara 2 balok. Double artinya bondek terletak antara 3 balok. Continuous artinya bondek lebih dari 3 balok.

  13. Saya rencana cor dak ukuran 6×6. Balok gantung uda dicor ukuran 30×45.tebal bondek 0,75( tebal pasnya 0,71).pake weirmes ukuran 8(toleransi 0,3)apakah dgn data tsb bentangan jarak balok 6×6 bisa dicor dan sudah kuat atau perlu tambahan balok gantung agakkecil di as 6×6.tks

    1. Mau nanya bos,1. berapa jarak antara sisi bondek teratas dengan wiremesh. 2. Ukuran setiap ruangan 3 x 4, apakah baloknya cukup dengan ukuran 35 x 17, tq be 4

  14. gan saya mau tanya, saya mau ngedak ukuran 6 x 9, kira kira yg saya butuhkan biaya berapa, terus apakah shear connector bisa di ganti paku beton… mohon pencerahan…

  15. Maaf juragan,saya mau nanya.
    apakah bisa ngedak rumah pake kalsiboard pake wiremesh????
    tanpa pake bondek untuk menghemat biaya.
    maaf sebelum nya krn saya orangnya sedikit kurang mampu soalnya.
    terima kasih

    1. Dear Rey, kalau wiremesh 2 lapis (atas dan bawah) bisa. Bondek bukan cuma untuk bekisting, tapi juga pengganti tulangan bawah. Sementara wiremesh untuk tulangan susut dan tulangan atas.

  16. Nukman hidayat pakpahan

    Admin mau tanya.. Jika ukuran bentanga 4×5.5 meter tampa adanya balokan tengah.. Perhitungan pemakaian bondek berapa mili ya.. Yg bisa di pergunakan..? Terimakasih sebelumnya

  17. Penggunaan Bondek memang sangat menghemat waktu, tenaga dan biaya. walaupun harga bondek sedikit lbh mahal, tetapi secara keseluruhan jika dihitung2 penggunaan bondek lebih murah. terimakasih infonya, salam sukses pak.

  18. Ahmad wahid

    permisi pak.
    mau tanya maksud singlw double atau continues pada bondek apa yaa?
    terimakasih

  19. Permisi pak, saya rencana mau pakai plat bondek untuk dak, apa bondek bisa berkarat jika digunakan untuk atap dak (lantai paling atas)… Terima kasih.. mohon pencerahannya

    1. Pak Deddy, kami tidak merekomendasikan bondek digunakan untuk daerah yang berhubungan dengan air. Dak atap terkena hujan. Jika bocor, akan sulit menemukan letak kebocorannya pada bondek.

    1. Balok Anak maksudnya Pak Nanang. Menggunakan balok anak atau tidak, tergantung pilihan. Umumnya 3×3 tanpa balok anak sudah cukup. Kalau untuk bondek, cek lagi spek bondeknya. Apakah diijinkan oleh produsennya dengan bentang 3 m.

  20. Permisi pak,
    Saya mau nanya tentang bagaimana caranya membandingkan kekuatan antara bondek dengan pelat lantai konvensional?
    Apa yang cocok menjadi pembandingnya?
    Terimakasih

  21. Bos mau tanya…sy lg bangun lantai 3,uk bangunan 6×6.70 m.kalau pasang bondek tanpa tiang tengah (cuma bentangan balok gantung aja di tengah) bakalan kuat enggak???ditunggu balasannya…maaf sebelumnya…terima kasih

    1. Pak Amin, setiap bondek punya properties sendiri2 dan biasanya ada tabel propertiesnya dari produsen. Disitu biasanya dijelaskan panjang bentang bondek maksimum tanpa prop berapa.

  22. Bos mau tanya…sy lg bangun lantai 3,uk bangunan 6×6.70 m.kalau pasang bondek tanpa tiang tengah (cuma bentangan balok gantung aja di tengah) bakalan kuat enggak???ditunggu balasannya…maaf sebelumnya…terima kasih

  23. Herianto patanduk

    Slamat siang bos, mau tanya . Kalau ukuran lantai (4×3,5) m apakah masih perlu balok di tengah dgn asumsi bondek yg saya gunakan ukuran ketebalan 0,7 mm. Mohon bantuannya dan trima kasih

  24. Muhamad ramdan

    Saya mau tanya, saya ngecor atas garasi 4x9m . Cuman pakai 1 balokan di tengah pas jarak 4,5m. Apakah berbahaya? Atau lebih baik di pasang lg balokan 2 jalur lagi?
    Ket: ketebalan coran 12cm

    1. Dear Ramdan, kalau pakai bondek sebaiknya ambil jarak maksimum antar balok tegak lurus arah pemasangan bondek 3 m. Untuk menghindari lendutan yg berlebihan.

      1. Dear admin,

        Saya berencana menambah bangunan garasi ukuran 5×6 m pada sisi L / samping rumah. Saya berencana membuat 6 buah tiang dengan jarak antar tiang masing2 sktr 2,75 x 4,5 m (tiang tidak berada di ujung bangunan, tapi ada spare sktr 50 cm, kecuali yang menempel pada dinding rumah utama).

        Pertanyaan saya:
        1. Apakah tiang pada sisi yg mepet dinding, bisa tanpa cakar ayam? Soalnya klo cakar ayam harus melubangi dinding utama tsb. Klo yg tdk mepet dinding rumah, rencana memang pakai cakar ayam.

        2. Apakah jarak antar tiang tsb sudah memenuhi standar ataukah belum?

        3. PAda saat pengecoran, apakah di luar balok gantung yg ada, masih perlu ditambah tiang penyangga (tiang racuk) utk menyangga plat bondek yang terbentang?

        4. Dengan ukuran demikian, kira2 berapa ketebalan bondek yang disarankan sesuai standar (jangan terlalu tebal tp jg jangan tipis di bawah standar yg ditentukan). Demikian juga, berapa ukuran besi behel yang disarankan

        5. Dengan kondisi hari ini, kira2 berapa biaya yg dibutuhkan utk bahan/material?

        1. 1. Tiang atau kolom harus menumpu pada pondasi. Entah itu cakar ayam (footplate) atau pondasi menerus.
          2. Jarak 4.5 m cukup umum. Jika ingin lebih aman lagi, pasang per 3 meter saja sehingga tidak perlu kolom praktis lagi.
          3. Dengan bentang pelat 2.75m, bondek cukup aman tanpa balok anak. Namun saat pengecoran agar di scoring sementara.
          4. Untuk ketebalan bondek standar 0.75mm. Untuk tulangan / besi gunakan wiremesh ukuran 6 ~ 8 mm.
          5. Untuk biaya saya tidak tahu.

  25. untuk pemasangan bondek, klo dibuat dulu balok beton hingga kering, kemudian untuk mengikat bondek dengan tumpuan balok beton yg sudah kering tsb dengan paku, apakah model pemasangan tsb udah benar mas ?
    kudian jenis paku apa saja yg dapat digunakan untuk mengikat bondek + beton tsb ? tks

  26. Saya mau tanya apa perbedaan antara bentang tunggal bentang ganda dan bentang menerus apakah sama dengan single double dn continous?

  27. Bos,,dalam pemasangan bondek,antara bondek yg pertama dengan yg kedua,apakah harus di las, atau cukup ditumpangin seperti pasang atap soka?

  28. Sy mau ngedak dg uk.6x7m. Krn utk atap teras, bisakah di tengah bentang itu tnp ada tiang, hanya di sudut2 dak nya sj. Hanya balok gantung di tengah. Mohon info nya gan….thanks

    1. Pak,

      Kalau diatas dinding sekat 2×1.5 dan 2×2.5 yang berdampingan meter diaplikasikan bondek dan kemudian dicor dengan k225 10 cm tanpa besi penguat. Kira2 apakah cukup kuat untuk torren air 1000 liter jika ditempatkan di area 2×1.5 meter?

  29. Pak..mau tanya..? Ketebalan cor buat jembatan depan rumah pakai bondek dengan besi wiremes satu lapis yg di ijin kan berapa Senti tebalnya..? misalnya 20cm apakah 1 lapis/ 2 lapis..sebelumnya trimakasi pak

  30. Pak..mau tanya..? Ketebalan cor buat jembatan depan rumah pakai bondek dengan besi wiremes satu lapis yg di ijin kan berapa Senti tebalnya..? misalnya 20cm apakah 1 lapis/ 2 lapis ..? jarak bentang antara balok 120cm ada 4 balok ketebalan balok 40 kali 20 cm dengan kondisi balok udah mengering..sebelumnya trimakasi pak

    1. Ketebalan metal deck ada yang hingga 1.4 mm BMT (base metal thickness), sehingga dapat menyesuaikan ketebalan pelat lantainya.

  31. Bisakah bondeck disambung dengan dilas?
    Kondisinya adalah bondeck ke 1 nongol sekitar 30 cm dari balok. Kemudian disambung dengan bondeck ke 2 dgn cara bondeck ke 2 numpang 10 cm di bondeck ke 1?

  32. Pagi Mas, bagaimana Cara mengatasi bondek yg tidak menepel Dengan balokan Karena pemasangan bondek miring sehingga diatas balokan berada pas bondek yg menjurus ke dalam, bentangan 3×5.5m, bisakah pakai besi Hbeam untuk menghilangkan bunyi duo..duk ketika orang berjalan?

    1. Dear Sahlun, Bondek tidak menempel pada balokan??? saya kurang paham pertanyaannya.
      Bunyi duk-duk pada lantai atas biasanya terjadi karena pelat lantai kurang tebal.

      1. Pak
        rumah 2 lantai saya salah pasang ukrn wermes
        Pakai wermes besi 6mm dan bondek 0,75
        Ukuran rumah 6×6 dan ruangan 3×3 kuat gak pak

        1. Pak Amri, kuat atau tidaknya tergantung beban yg bekerja. Kalau untuk rumah sekitar 200kg/m2. Jarak 3 m termasuk standar. Untuk bondek dan wiremesh ukuran tsb sudah cukup.

          1. Mohon pencerahannya bos…
            Saya mau ngedak ukuran 250 cmx 300cm
            Yang saya tanyakan kalo pake bondek,dikasih bslok tambahan ga antara As tengah ruangan…
            Seandenya ga usah dikasih balok tambahan kuat ga…
            Terus cara pemasangan bondek mepet bibir luar balok apa bagi as balok trima kadih

  33. Pither Rukka

    Yang dimaksud tebal plat tsb apakah dari lembah atau gunung bondek.
    Kalau ngecor baloknya apakah boleh sebagian dulu sampai batas bondek kemudian lanjut lagi setelah bondek di pasang ?

  34. Mau tanya saya mau membuat ruang kelas 2 lantai dgn ukuran 4,5 x 8… Saat ini sedang dalam proses pengerjaan… Dan dibuat hanya 6 tiang cakar ayam…apakah sudah kuat..atau perlu ditambah tiang penyangga…terimakasih

  35. Bgm jk dack atap yg menyangga mis 2 bh tangki air @ 1 m3, sdg kemampuan bondex menahan 200 – 700 kg/m2 LL (tabel bondex) juga sesuai ketebalan cor dag, padahal msh ada tambahan lagi bbn mati spt bbn keramik, peluran, bbn plafon, bbn MEE, Bbn pasir shg bbn nya. Sdh jauh melebihi max tabel yg diijinkan. Bgm pasang tulangan tambahan unt menyokong Momen Positif. Apakah tdk berimpitan dgn tul momen negatif krn sdh dikurangi kulit beton 2 cm
    2. Betul bondex spt dag 1 arah, namun begitu spt cor dag beton biasa tulangan walau dag 1 arah ttp hrs ada yg arah memanjang juga ada yg arah memendek. Bgm dgn bondex. Terima kasih Bang

  36. Pak, sy cor (dgn bondek)atap garasi ukuran 4x5m pake balok anak 1 di tengah..pagi cor, sorenya 1 terjadi lendutan di balok anak tengah itu kurleb 5cm turunnya..bagaimana solusi nya ya?

  37. Muhammad Fauzan

    Pak bagaimana plat bondek bisa menjadi plat 2 arah,kan di katakan one way slab,artinya plat bondek hanya kaku ke 1 arah,sedangkan ke arah minornya tidak ada ?
    apa bisa ini mejadikan pengganti tulangan tarik ?
    mohon penjelasannya

Leave a Comment

Your email address will not be published. Required fields are marked *

Scroll to Top